Если вы видите это сообщение, значит, произошла проблема с загрузкой файлов в стилей (CSS) нашего сайта. Попробуйте сбросить кэш браузера (Ctrl+F5).
Если это не поможет, а вы находитесь в регионе, где возможны ограничения интернет-трафика с российских серверов - воспользуйтесь VPN.
1

Из чего сделать колпаки на заборные столбики?

Merlinka [1.2K] 10 лет назад 

Сделали на даче новый забор перед домом, столбики из кирпича. Подскажите из чего лучше и проще будет сделать колпаки на эти столбики?

0

Вариантов отделки столбов из кирпича достаточно много сейчас. Но мне кажется, что нужно чтобы вся эта конструкция забора как то сочеталась с вашим домом и другими постройками, чтобы не нарушался весь архитектурный ансамбль. Лично для меня это очень важно. Самый легкий способ сделать колпаки из листового металла под цвет крыши вашего дома, можно сделать самому, но лучше заказать у жестянщиков, быстро и недорого. Или можно применить бетонные колпаки опять же заводского производства, по моему это лучший вариант, которые потом красятся в нужный вам цвет. Также можно использовать черепицу, если вы крыли крышу дома черепицей например, то у вас должно остаться некоторое количество, которое можно применить на колпаки для забора, и здесь вы можете применить всю свою фантазию. Себе я делал из бетона, фото ниже

текст при наведении
.

модератор выбрал этот ответ лучшим
0

В основном наша промышленность предлагает такие колпаки из бетона и из металла. Всё зависит от того, из чего у Вас сам забор сделан, тогда проще будет определиться с материалом колпаков.

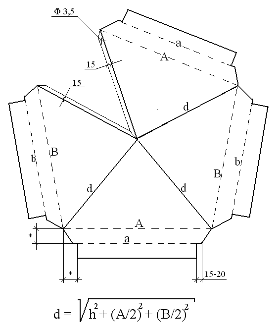
Но если говорить о простоте самостоятельного изготовления, то наверное стоит выбрать металл. Выкроек в интернете предостаточно, для примера предлагаю. Но стоит этим занимать только в случае, если у Вас в запасах есть подходящий металл. Если же покупать для этой цели... почти одно на одно с покупными колпаками выйдет.

текст при наведении

Знаете ответ?
регистрация