

Установка пластиковых окон регламентируется ГОСТом 30971-2002, который определяет каким способом нужно крепить окна, какие требования предъявляются к монтажным швам, их конструктивные решения, рекомендуемые размеры монтажных зазоров, какие материалы должны применяться для устройства монтажных швов и многое другое.
Применение каких бы то ни было технологий, не предусмотренных данным ГОСТОм является нарушением и не гарантирует качественной установки пластиковых окон. Так, что придумывать что-либо новое - отступать от принятых стандартов.
Занимаясь ремонтом квартир, мне неоднократно приходилось наблюдать за процессом установки окон (иногда по просьбе самих заказчиков).
Скажу вам честно: подавляющее большинство монтажников пластиковых окон не знают требований, которые предъявляет ГОСТ к их установке.


- Прежде чем устанавливать окна, нужно правильно произвести замеры проемов и заказать окна.
Зазоры между рамой окна и оконным проемом должны быть обязательно (для компенсации линейного расширения оконного блока) и определяются ГОСТом 23166. Величина этих зазоров зависит от размера пластиковых окон и даже от цвета пластика:
Перед установкой рама окна освобождается от створок и глухих стеклопакетов.
При установке на раму подставочного (подоконного) профиля или расширительных профилей, зазор между профилями нужно обязательно заполнить монтажной пеной или само расширяющейся уплотнительной лентой. Обычно эту операцию (утепление) монтажники игнорируют.
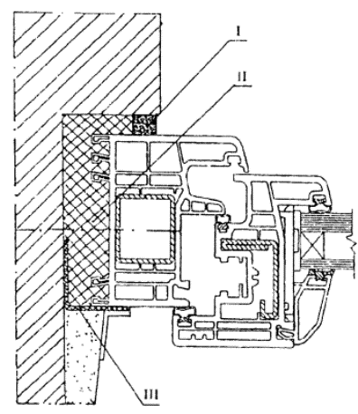
- Особые требования предъявляются к заполнению и защите монтажного шва. Для защиты шва от влаги, на внешний периметр рамы наклеивается водоизоляционная паропроницаемая само расширяющаяся уплотнительная лента:
Боковая часть рамы оклеивается пароизоляционной лентой на основе битума:
Забегая немножко вперед, в конечном результате защищенный монтажный шов должен выглядеть таким образом:
Как раз это, одно из основных условий качественной установки оконных блоков, большинством монтажников и не выполняется. В результате отсутствия одного или обеих защитных слоев монтажного шва, монтажная пена насыщается влагой и теряет свои свойства теплоизолятора (откосы начинают промерзать).
- Крепить окна ПВХ в проеме можно двумя способами: на анкера и на анкерные пластины.
БОльшее предпочтение нужно отдавать креплению на анкерные пластины, а анкера использовать только там, где применение пластин не возможно или не гарантирует надежного крепления (например небольшая толщина наружной стены домов с вентилируемыми фасадами или предъявляются особые требования к оконному остеклению по ветровой нагрузке).
Недостаток анкерного крепления заключается в том, что в результате сверления рамы, происходит разгерметизация профиля, состоящего из нескольких изолированных между собой камер.
Минимальный размер анкеров и дюбелей, а также глубина их крепления тоже предусмотрены ГОСТОм:
Каждая сторона окна должна крепиться как минимум в трех местах. Расположения опорных клиньев и крепежных деталей можно посмотреть на этом рисунке из общих технических условий СТАНДАРТА:
После крепления рамы, боковые клинья вытаскиваем, а нижние оставляем в качестве опорных.
- Вставляем в раму глухие стеклопакеты и навешиваем створки.
- Следующий этап - установка отлива. Монтажную пену наносим сверху на приклеенную по периметру окна изоляционную ленту и на внешний откос стены - это обеспечит герметизацию и шумоизоляцию отлива. Сам отлив вставляем в паз под рамой и фиксируем саморезами.
- Увлажняем шов между рамой и стеновым проемом с пульверизатора и задуваем периметр монтажной пеной. Через некоторое время, когда пена застынет, заворачиваем на пену и клеим к стене пароизоляционную диффузионную ленту.
- Переходим к подгонке и установке подоконника. С помощью деревянных колодок и клиньев выставляем подоконник таким образом, чтобы он вплотную прижимался к нижнему профилю рамы и имел наклон в сторону комнаты не более 5-ти градусов. Подоконник устанавливаем на цементно-песчаный раствор или монтажную пену. При варианте с монтажной пеной, подоконник нужно пригрузить (например 5-ти литровыми бутлями с водой) или установить распорки в верхний откос.
Если вы решили установить широкий подоконник, с навесом над радиатором более 15см, советую перед установкой предусмотреть и врезать в него оконный конвектор, который позволит беспрепятственно обогревать стеклопакеты теплым воздухом от радиатора.
На прилагаемом ниже рисунке указаны основные нюансы, на которые стОит обратить внимание при монтаже окон.
Для бОльшей наглядности советую посмотреть короткое видео по монтажу пластикового окна.