Если вы видите это сообщение, значит, произошла проблема с загрузкой файлов в стилей (CSS) нашего сайта. Попробуйте сбросить кэш браузера (Ctrl+F5).
Если это не поможет, а вы находитесь в регионе, где возможны ограничения интернет-трафика с российских серверов - воспользуйтесь VPN.
3

Как выточить топорище своими руками?

Syshka [5.8K] 11 лет назад 
1

Мой дедушка учил меня делать топорище с помощью топора, и ножа из березового полена - больше инструмента не требовалось. Первоначально работаем топором.

Берем полено, придаем ему более-менее прямоугнольную форму. Переднюю часть (где будет насажен топор суживаем снизу - по форме треугольного отверстия в топоре) Затем, отступив сантиметров 15-20 надрубаем тыльную сторону, делая выемку под рукоять (на схеме этот вырез обозначен R280. С протовоположноко конца так же надрубаем упор для руки.

Грубо топорище у нас готово, а теперь берем нож и доводим форму до идеальной.

текст при наведении

Ну и видео, как это можно сделать в более оснащенной мастерской.

автор вопроса выбрал этот ответ лучшим
1

Деревянная ручка для топора (топорище) изделие ответственное, и по этому при его изготовлении учитывается много - материал (сорт и влажность древесины), направление волокон, тип топора (плотницкий, столярный или колун) От правильности изготовления зависит и безопасность и эргономика готового топора.

Для плотницких и столярных топоров топорище делается в зависимости от веса железки. На топоры весом до килограмма длина ручки 40-60 сантиметров, полтора килограмма и выше - 55-65 сантиметров.

Наиболее подходящая для топорищ древесина это береза, дуб, ясень, клен. Сушится любое дерево для топорища не меньше года в естественных условиях (не сушилках) в тени хорошо проветривыемых помещений.

У нас нет дуба, ясеня или клена, про качество топорищ сделанных из них говорить не будут. Но из березы сделал не один десяток топорищ, о ней и поведу речь. Кстати, те кто работал с топорищами из разных пород дерева, утверждают что только береза "не сушит" руку рабочего, из-за вязкости волокон.

Заготовка березы на ручки топоров, молотков, ножей и прочего ручного инструмента, ведется в зимний период, в крайнем случае ранней весной до начала сокодвижения.

В дело идет прикорневая (комлевая) часть дерева. Березовая чурка раскалывается на плахи. Именно раскалывается а не распиливается по вдоль, для того что бы видеть естественное направление волокон, и в соответствии с этим далее делать и заготовки.

Из плах выкалывают бруски сечением примерно 70-80 мм. на 120-150 мм. и убираю сушить. В процессе сушки береза усохнет поперек волокон и заготовка станет меньше. Сушатся заготовки не менее двух лет в проветриваемом помещении не подвергаясь солнечному свету (обычно это чердак)

Хорошо просушенную заготовку фугуем с одной стороны, смотрим нет ли трещин. Если все в порядке выводим общую толщину по двум пластям 45 миллиметров.

Кладем заготовку на пласть и ориентируем шаблон относительно волокон

Шаблоны топорищ, их размеры - длина, толщина, сечение в основных точках, тоже различаются по назначению самих топоров -

На торцевой части заготовки очерчиваем форму проушины топора карандашом по внутренней ее части, совместив с выходом закрепительной части по шаблону.

Теперь производит грубую обработку заготовки по шаблону. Это можно сделать и другим топором и широкой стамеской, я просто выпиливают электролобзиком по контуру. И щепы меньше, нагрузки на дерево нет от ударов, да и культурнее как то выглядит.

Скругляем углы ручки, в верней ее части полукругом, а к низу немного на конус. Именно такая форма "перевернутой капли" самая удобная для руки. Теперь насадим железку на топорище.

Насадка топора производится "в натяг" Топорище предварительно пропиливается под клин (клинья) на глубину двух третей ширины проушины со сквозной сверловкой в конце пробила, по вдоль пропила.

Клин, я лично делают для березового топорища из сосновой смолистой доски. Держится отлично. Одного клина вполне хватает, если березовая ручка очень хорошо высушена и больше не усыхает.

Насадив топор покрутите его в руках, уберите крупным напильником те места где топорище лежит не удобно в ладони. Не переживайте что отойдете от "стандартов" и "шаблонов" если топор вы делаете под себя. Пусть он будет хоть трижды неказистым, но если он отлично лежит в руке, то вы будете меньше уставать и производительность увеличится, да и настроение от работы топором который является продолжение руки, будет хорошим.

После того как топорище готово и насажено. Обработайте его льняной олифой, предварительно разогрев ее. Я пропитывают на горячую только плотничьи топоры. Столярные почти всегда в помещении. Ручки колунов просто протираю несколько раз светлым трансформаторным маслом.

Ну конечно же, каждый плотник и столяр, со временем выводит для себя самую оптимальную форму топорища, с желаемым размещением центра тяжести, длины и толщины ручки. Вариантов, как и мастеров масса. Однако и ГОСТ не обошел стороной этот самый нужный инструмент -

1

Топорище – это ни что иное, как ручка такого инструмента, как топор. на самом деле, от её характеристик зависит то, на сколько удобно и комфортно будет работать с данным строительным инструментом.

Если изготовить топорище неправильной формы, а именно в виде прямой палки, то неминуемо то, что при работе рука будет испытывать напряжение и усталость.

Поэтому правильной формой для топорища считается его изогнутая форма с сечением в виде овала. Нижнюю часть лучше расширить, при такой конструкции даже при сильных ударах топор будет надежно располагаться в руках.

Ниже приведена схема топора с его правильными размерами.

Для изготовления топорища стоит использовать древесину таких пород, как дуб, береза, клен или ясень.

  1. Изначально стоит заготовить шаблон из картона, который в дальнейшем мы перенесём на поверхность древесины.
  2. Из сухого палена вытесывается заготовка для топора, движения необходимо производить строго вдоль волокон. При этом длина данного бруска должна быть на 100 мм больше будущего инструмента, а ширина заготовки должна превышать ширину на 2-3 мм.
  3. На брусок переносит изображение с шаблона. Делаем это с двух сторон.
  4. Теперь необходимо вырезать, обтесать шаблон из бруска. После того, как заготовка готова, то её необходимо отшлифовать наждачной бумагой.
  5. После чего произвести пропитку водоупорным составом. Здесь идеальными будут такие средства, как олифа или льняное масло.

О том, как сделать топорище для топора более подробно показано в данном видео:

1

Длину топорища нужно подбирать исходя из роста и силы мастера, но также от длины зависит и сила удара. Как правило, ручки имеют длину от 40 до 60 см и от 55 до 65 см.

К выбору древесины для топорища также нужно подходить с вниманием, так как не каждая порода подходит для ручки. Чаще всего для изготовления ручки топора используют прикорневую часть березы, а еще лучше наросты на ее стволе (древесина в этой части очень плотная). Помимо березы можно также использовать дуб, клен, акацию... Перед тем, как приступить к работам по изготовлению ручки нужно хорошо просушить древесину в естественных условиях, а на это уходит достаточно много времени.

На заранее подготовленной заготовке очерчиваем контуры по заданному шаблону. Важно принять во внимание, что волокна древесины должны быть расположены вдоль будущего топорища, чтобы увеличить его прочность, так как иначе при очередном ударе он может просто поломаться.

Важное замечание!!! Если уже готовое топорище легко входит в проушину, значит на каком-то этапе мастер допустил ошибку. Данный дефект не сможет исправить даже вбитый клин, он обеспечит лишь непродолжительную плотную посадку топора на топорище


А теперь предлагаю посмотреть видео, чтобы отпали все вопросы, так как лучше один раз увидеть. Видео-руководство по изготовлению топора:

1

В общем-то это не сложно сделать (профи-столяра "на глаз", за пол часа делают ручку топора), но надо учитывать что топоры разные и длина топорища (ручки, рукоятки) может быть абсолютно разной, есть укороченные варианты (к примеру для того что бы топор класть в рюкзак), есть очень длинные топорища, к примеру для топора-колуна.

Далее определяемся с древесиной, тут лучше ясень, дуб, берёза и.т.д.

Древесина сухая (желательно влажность не более 12%).

Если делаем топорище с нуля, то из чурки вырубаем заготовку.

Далее обзаводимся вот таким,

или подобным чертежом топорища, нас интересуют размеру которые переносятся на заготовку.

Перенесли.

Осталось убрать лишнее, то есть снять древесину по очерченному конуру.

Это можно делать стамеской, но первично контур выпиливаем ножовкой, то есть у нас получится почти готовое топорище, но с острыми углами и гранями.

Углы и грани дорабатываем стамеской, или ножом, если удобно.

Что бы топорище было гладким, шлифуем наждачной бумагой.

На финише обрабатываем топорище антисептиком.

1

Топорище - это на самом деле сложный предмет, имеющий не только многовековую доработку человеком, но и также топорище должно быть подобрано к каждому индивидуально, в зависимости от строения его руки.

Кроме этого крепление топорища к бойку также имеет разную форму и длинна его, да и форма во многом зависит от формы бойка.

Поэтому необходимо начинать сначала с того, к какому бойку будет изготавливаться топорище.

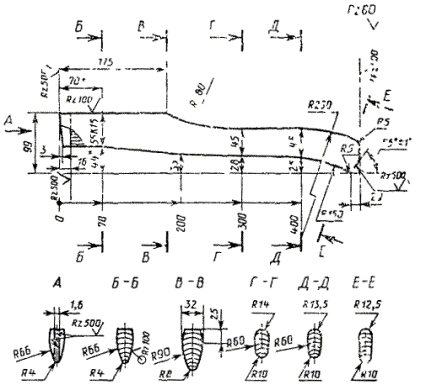
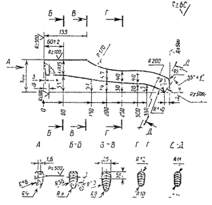
Для топорища даже разработаны специальные ГОСТы. Так например ГОСТ 1400-91 гласит о том, какое топорище должно быть в строительном молотке, а именно по этому ГОСТу даётся схема изготовления 6-ти различных видов топорищ, который отличаются друг от друга в основном размерами.

1 тип

2 тип

2 тип 1

3 тип

4 тип

4 тип 1

Изготавливать топорище необходимо строго по чертежу.

Для изготовления используется следующий инструмент: пила, топор, рубанок, нож, наждачная бумага, при необходимости наждачный круг на станке.

1

Вот, решил разбавить свой ответ иллюстрациями (как раз на выходных занялся именно изготовлением топорища по дедовской технологии).

Итак, по порядку: обтачиваем полено до бруса (то есть примерно прямоугольной формы):

текст при наведении

Переднюю часть делаем треугольной - под отверстие в топоре.

текст при наведении

делаем захватную часть - подрубаем сверху и стесываем часть метериала

текст при наведении

Подтесываем заднюю часть, закругляя заготовку снизу

текст при наведении

переворачиваем заготовку и подрубаем захватную часть - рубим в обратном направлении

текст при наведении

Получается примерно такая форма. Отпиливаем или отрубаем хвост

текст при наведении

И вот в наших руках грубое неровное, с заусенцами, но уже вполне себе топорище

После этого, берем в руки нож и доводим форму до идеальной.

текст при наведении

Постепенно обстругивая, закругляем рукоять, убираем заусенцы и шероховатости, делаем поверхность гладкой

текст при наведении

Ну и окончательная доводка проводится шлифовальной бумагой (если гладко остругали, то совсем не обязательно)

Знаете ответ?
регистрация