Если вы видите это сообщение, значит, произошла проблема с загрузкой файлов в стилей (CSS) нашего сайта. Попробуйте сбросить кэш браузера (Ctrl+F5).
Если это не поможет, а вы находитесь в регионе, где возможны ограничения интернет-трафика с российских серверов - воспользуйтесь VPN.
0

Как сделать ленточную пилораму самому (чертежи)?

Татьянам [2.5K] 9 лет назад 

На данный момент нет средств купить хороший станок, поэтому как можно своими руками сделать ленточную пилораму (нужны подробные чертежи)?

4

Вообще-то, самостоятельно изготовить столь сложный механизм, как пилорама, очень сложно, но… возможно. Для начала надо найти свободную площадь размером 3з6 м. Затем прикупить колеса для пила и тележки. Тогда раму для ленточной пилы можно покупать без колес, то есть дешевле. Сборку надо осуществлять, ориентируясь на прилагаемые чертежи

Начало сборки- это установка направляющих, в качестве каковых можно использовать швеллер, двутавр или уголок. Направляющие надо располагать на опоры из анкеров, расположенных с шагом 0,5 м. Между направляющими надо выдержать расстояние, равное диаметру того бревна, которое предполагается распиливать – примерно 0,7 м. Конструкция объединяется с помощью сварки. Потом к тележке прикрепляются колеса, рама и двигатель через шкив. Пошаговые фото сборки прилагаю

Вот как в итоге должна будет выглядеть пила в сборе

система выбрала этот ответ лучшим
2

Ленточная пила, изготовленная собственными силами, обойдется дешевле покупной. На изготовление обычно используют дешевые материалы, поэтому при интенсивной эксплуатации ее хватит на несколько месяцев.

Эскиз ленточный пилорамы приведен ниже. Размеры на чертеже справочные, их можно менять, если правильно понимать принцип действия агрегата.

Рисунок 1

1 нижний шкив

2-каркас

3-лента (пила)

4-клиновой ремень

5-демпфер

6 - направляющая

7-штанга

8-верхний шкив

9–стол

10-двигатель

11-шкив

12-упор

14-опора

15-регулировочный винт

16-ползун

В данной конструкции бревно разрезается пилой в идее гибкого полотна. Такой режущий инструмент дает меньше отходов, чем при использовании бензопилы. Электродвигатель рекомендуется использовать мощностью 2,5-3 кВт, но на выбор силовой установки может повлиять сорт дерева и конечный продукт - доска или брус.

Требования к основным элементам

Габариты стола (поз 9) и каркаса (поз. 2) пользователь выбирает произвольно. На рисунке 1 размеры справочные.

На рисунке 2 показаны размеры штанги. Ее можно изготовить из швеллера №8. К столу штанга крепиться уголком.

Рисунок 2

Верхний и нижние шкивы (поз. 68, 1, рисунок 1) должны быть одинаковых размеров. Верхний шкив должен быть накрыт защитным кожухом.

Демпфер (поз. 5, рисунок 3) снижает амплитуду колебаний.

Рисунок 3

Направляющие (поз 6) обеспечивают правильное положение бревна при разрезании. Изготавливают из уголка (рисунок 4).

Рисунок 4

Режущий инструмент (лента, поз. 3) лучше купить. Толщина зависит от сорта дерева (рисунок 5).

Рисунок 5

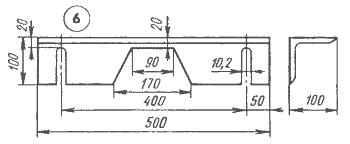
Механизм натяжения обеспечивает правильное расположение ленты во время работы. Составные части показаны на рисунке 6.

Рисунок 6

Все подвижные части устанавливаются на валах с подшипниками.

Знаете ответ?
регистрация